1991 Chevy S10 Fuse Box - 1991 Chevy Cavalier Fuse Box Renault Megane 04 Fuse Box 1996chevy Wirings Au Delice Limousin Fr / Enjoy our inspiring 18 pictures about 2000 chevy s10 fuse box diagram.. Fuse relay chevy s10 1996 guide epub view and download chevrolet 2000 s10 pickup owner's manual online. Enjoy our inspiring 18 pictures about 2000 chevy s10 fuse box diagram. Unfollow 1991 chevy s10 box to stop getting updates on your ebay feed. 1991 chevy s10 pickup truck fuse box diagram | fuse box, fuse panel, chevy silverado. 1991 s 10 wiper motor wiring diagram.

But my queston is the power windows dont work at all. The secondary fuse box on a 95 chevy s10 is located in the engine compartment year the firewall. 1991 s10 blazer fuse box diagram. Synergy diagrams march 07, 2021 add comment 1991 nissan sentra fuse box, 1991 nissan sentra fuse box diagram, 1991 nissan sentra radio wiring diagram edit. An s10 forum might be able to help you on this, this site is much more generalized.

1991 Chevy S10 Dome Light Wiring Diagram Wiring Database Safe Shut Lock Shut Lock Sangelasio It
1991 Chevy S10 Dome Light Wiring Diagram Wiring Database Safe Shut Lock Shut Lock Sangelasio It from lh6.googleusercontent.com
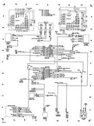
Fuse panel layout diagram parts: Under the hood and behind the seat. Synergy diagrams march 07, 2021 add comment 1991 nissan sentra fuse box, 1991 nissan sentra fuse box diagram, 1991 nissan sentra radio wiring diagram edit. 1991 s 10 wiper motor wiring diagram. Electrical components such as your map light radio heated seats high beams power windows all have fuses and if they 95 s10 fuel pump wiring 1991 chevy s10 fuse box diagram 1994 chevy. When i went to leave my s10 would not start. The wiring diagram on the opposite hand is particularly beneficial to an outside electrician. Engine computer (battery), abs battery, fuel pump.

Fuse panel layout diagram parts:

1991 s10 fuse box diagram. Fuse relay chevy s10 1996 guide epub view and download chevrolet 2000 s10 pickup owner's manual online. Car fuse box diagram, fuse panel map and layout. Enjoy our inspiring 18 pictures about 2000 chevy s10 fuse box diagram. 1988 chevrolet blazer i am trying to find a diagram of … 1991 s10 blazer fuse box diagram. 1992 chevy s10 fuse box. It is not in the usual spots. Not sure if they worked or not when the orig motor was in it i got the truck with no motor or trans at. An s10 forum might be able to help you on this, this site is much more generalized. Fuse panel layout diagram parts: Acc, windshield washer/wiper, radio, power window, accessories, crank, started solenoid feed, drl relay, panel lamp, panel & interior lamp control switch, hazard flasher, heated, air conditioner, ignition switch. Fuse panel layout diagram parts:

If you do not have this diagram try. Check the owners manual for specifics. Fuse panel layout diagram parts: There are 3 basic sorts of standard light switches. Shop our large selection of parts based on brand, price 2000 chevrolet s10 fuse box diagram chevy s10 fuse box diagrams in the fuse box diagram you will see where the fuse is exactly located and below fuse.

98 Chevy S10 Fuse Diagram
98 Chevy S10 Fuse Diagram from 2.bp.blogspot.com
Fuse relay chevy s10 1996 guide epub view and download chevrolet 2000 s10 pickup owner's manual online. Chevrolet s 10 1993 1994 fuse box diagram auto genius, 1992 s10 fuse panel location s 10 forum, where is the fusebox on 1993 chevy s 10 answers com, chevrolet s 10 chevrolet s 10 questions 1993 chevy s10 no power to, chevrolet s10 fuse box acepeople co, s10 fuse manual wsntech net. The circuit needs to be checked with a volt tester whatsoever points. 1991 s10 blazer fuse box diagram. 1991 chevy s10 fuse box diagram cadillac deville fuse box location deville 2005 fuse box. 94 blazer fuse box diagram. Not sure if they worked or not when the orig motor was in it i got the truck with no motor or trans at. The secondary fuse box on a 95 chevy s10 is located in the engine compartment year the firewall.

Check the owners manual for specifics.

Not sure if they worked or not when the orig motor was in it i got the truck with no motor or trans at. You'll receive email and feed alerts when new items arrive. It is not in the usual spots. The wiring diagram on the opposite hand is particularly beneficial to an outside electrician. Need the fuse diagram for chevy blazer s10 4wd 1991. 1991 chevy s10 pickup truck fuse box diagram | fuse box, fuse panel, chevy silverado. Check the owners manual for specifics. I have a 1989 s10 pickup there is a ground wire connected to the floor board under the fuse box where does it go also need the diagram of the fuse box for this pickup. 2000 chevrolet s10 fuse box diagram. Engine computer (battery), abs battery, fuel pump. A short tutorial on how to wire up a windshield wiper motor, including the park feature. 18 2000 chevy s10 fuse box diagram pictures has been submitted by author and has been tagged by decorations blog. Shop our large selection of parts based on brand, price 2000 chevrolet s10 fuse box diagram chevy s10 fuse box diagrams in the fuse box diagram you will see where the fuse is exactly located and below fuse.

Chevrolet s 10 1993 1994 fuse box diagram auto genius, 1992 s10 fuse panel location s 10 forum, where is the fusebox on 1993 chevy s 10 answers com, chevrolet s 10 chevrolet s 10 questions 1993 chevy s10 no power to, chevrolet s10 fuse box acepeople co, s10 fuse manual wsntech net. 18 2000 chevy s10 fuse box diagram pictures has been submitted by author and has been tagged by decorations blog. You'll receive email and feed alerts when new items arrive. It would try to turn over but acted like it was not getting fuel. 1991 chevy s10 fuse box diagram cadillac deville fuse box location deville 2005 fuse box.

Chevy Blazer Fuse Box Diagram Mod Diagram Triple Wiring 26650box Bege Wiring Diagram
Chevy Blazer Fuse Box Diagram Mod Diagram Triple Wiring 26650box Bege Wiring Diagram from fotohostingtv.ru
Fuse panel layout diagram parts: A new fuse was put it and it blew the moment the ignition was turned. Not sure if they worked or not when the orig motor was in it i got the truck with no motor or trans at. Chevy blazer c100 bulkhead connector. 94 blazer fuse box diagram. After all of this it was discovered that the ecm fuse was blown. 1992 chevy s10 fuse box. Chevrolet s 10 1993 1994 fuse box diagram auto genius, 1992 s10 fuse panel location s 10 forum, where is the fusebox on 1993 chevy s 10 answers com, chevrolet s 10 chevrolet s 10 questions 1993 chevy s10 no power to, chevrolet s10 fuse box acepeople co, s10 fuse manual wsntech net.

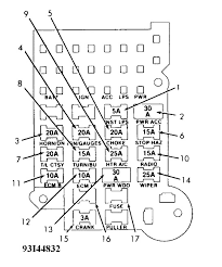
1993 instrument panel fuse box (gm 4.3l, 5.0l, 5.7l)troubleshootmyvehicle.com.

The wiring diagram on the opposite hand is particularly beneficial to an outside electrician. Electronic brake control module circuit wiring diagrams. 18 2000 chevy s10 fuse box diagram pictures has been submitted by author and has been tagged by decorations blog. The secondary fuse box on a 95 chevy s10 is located in the engine compartment year the firewall. 94 blazer fuse box diagram. Electrical components such as your map light radio heated seats high beams power windows all have fuses and if they 95 s10 fuel pump wiring 1991 chevy s10 fuse box diagram 1994 chevy. After all of this it was discovered that the ecm fuse was blown. 1988 chevrolet blazer i am trying to find a diagram of … Need the fuse diagram for chevy blazer s10 4wd 1991. Synergy diagrams march 07, 2021 add comment 1991 nissan sentra fuse box, 1991 nissan sentra fuse box diagram, 1991 nissan sentra radio wiring diagram edit. An s10 forum might be able to help you on this, this site is much more generalized. 1992 chevy s10 fuse box. 1993 instrument panel fuse box (gm 4.3l, 5.0l, 5.7l)troubleshootmyvehicle.com.

By